2025年10月9日,国务院官网全文发布了《电子印章管理办法》(以下简称《办法》)。在前文中已经解析了《办法》中的电子印章的法律效力与电子印章的全生命周期管理,本文对《办法》的电子印章的安全与责任进行详细解读。

强化使用管理:清晰权责边界
《办法》第四章(第二十一条至第二十四条)确立了"谁所有、谁控制,谁签章、谁负责"的核心原则,从使用规范、验证要求、归档管理三个层面构建责任体系。在使用规范上,要求电子签章必须使用有效印章,保证数据的真实性、完整性和不可否认性,且全过程信息需记录保存,实现"行为可追溯、责任可定责"。这一要求将责任具体到每一次签章操作,让使用者规范行为。
在验证环节,明确验证需同时核验签章数据真实性和印章有效性,避免单一验证带来的风险漏洞。而在归档管理上,要求电子文件归档符合电子档案管理标准,确保经签章的电子文件能够长期保存、随时调取。这种全链条责任设计,为电子印章的安全应用提供了制度保障。
推动互信互认:打破数字壁垒
《办法》第五章(第二十五条至第二十七条)规定,从技术支撑、标准建设、系统适配三个维度提出解决方案,国家将推动提升电子印章的互信互认支撑能力,要求各级政务系统和相关单位的业务系统必须支持符合规定的电子印章接入和使用,旨在打破信息孤岛,实现“一网通办”。
安全与责任:清晰建立安全责任范围
《办法》第六至第八章围绕安全管理、法律责任及实施细则作出系统性规定,形成"安全防控-责任追究-落地保障"的完整制度闭环。
建立电子印章全生命周期安全防护机制。明确电子印章管理全过程需要遵守保密规定、网络安全,信息保护等,同时要求制作管理单位长期保存操作记录和结果,确保每一枚电子印章的全流程可追溯。
构建覆盖多方主体的责任追究体系。针对违规制作、未履行安全义务、违规使用、伪造、变造、冒用电子印章的,将面临法律严惩,为电子印章安全应用提供最强法律保障。
君子签君子签数字化印控方案
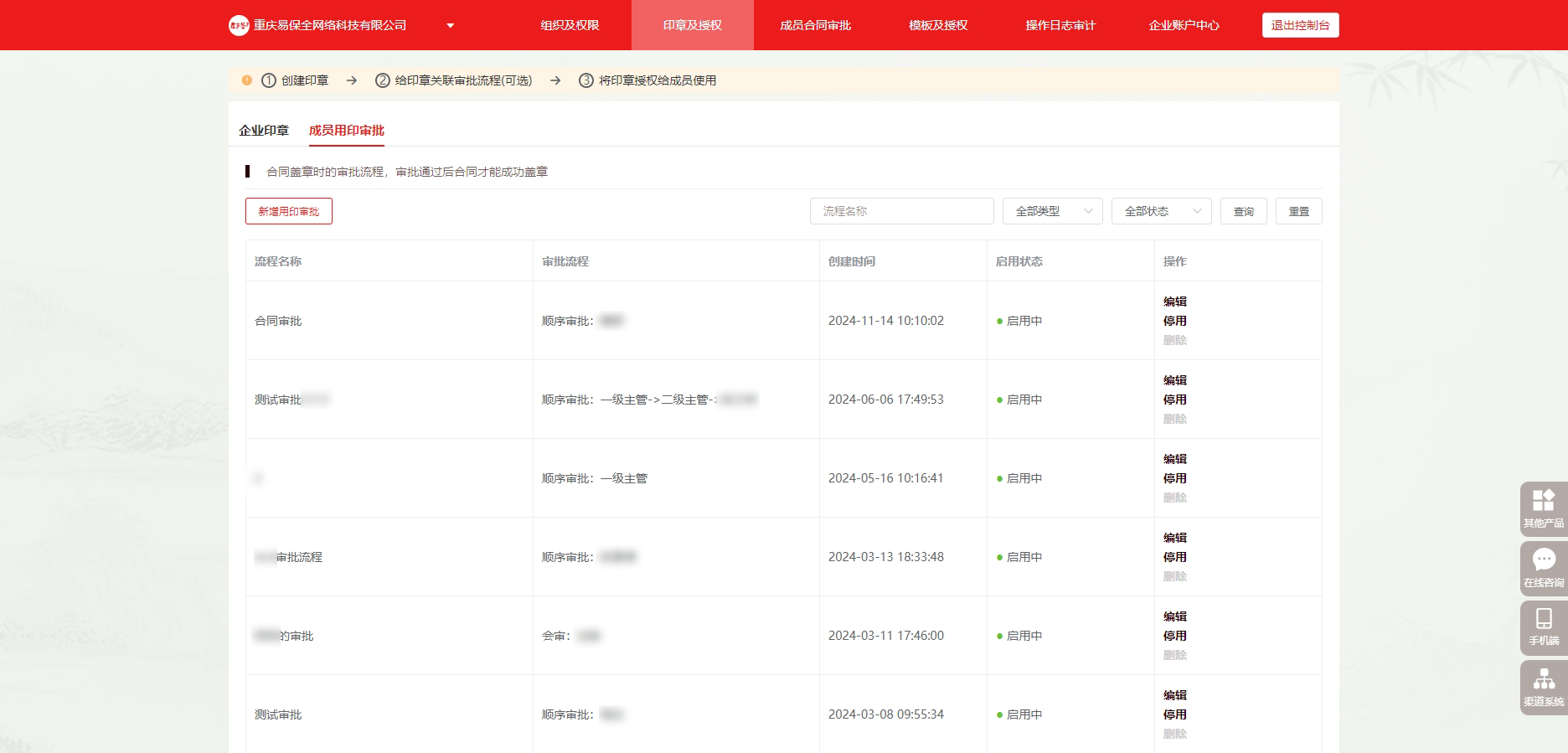
君子签打造数字化印控管理平台,打通印章制作、审批、使用、授权、停用和销毁等全生命周期,大大降低用印管理和使用成本,让用印更规范、更便捷、更安全。
企业管理者可以对每一枚印章进行全流程管控,全过程追踪用章情况,管理成员权限,在每次用印之前都有严格的申请流程,并被充分授权执行,经过管理员审批、授权后,成员才能按需调用,确保用印流程合规,防止私自冒用、乱用。

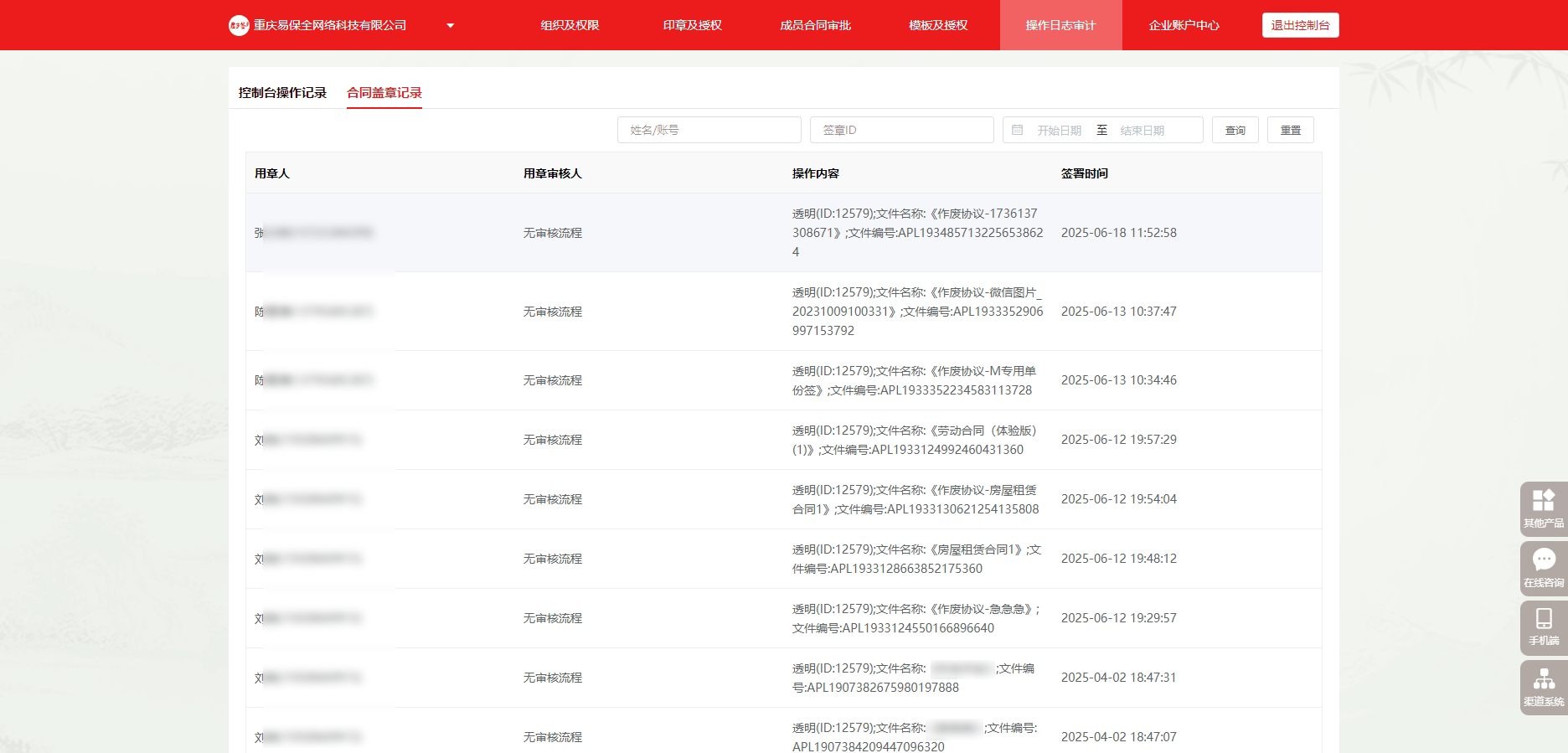
君子签为用户提供全流程的印章操作记录服务,对印章的基本信息和全过程操作都有详细记录,且加盖电子印章的签署文件和操作数据,会同步存储至联盟链上的各个节点,进行全程留痕和同步存证,可以第一时间调阅,并且全程防篡改、数据真实可信,出现问题,过程随时可以追溯。

此次《办法》的出台将在政务服务、市场活力、社会治理等多个领域产生深远影响,为电子印章的广泛应用提供了关键制度保障,标志着其进入规范化、法治化新阶段。对市场而言,机遇与责任并存,关键在于建立内部管控制度、选择合规服务商,并在重要交易中主动验证对方电子印章的有效性。
降本增效
线上电子化签章,不受时间与空间限制,无论是企业还是政府单位,可实现线上签章,并且建立电子档案系统,实现无纸化办事,显著降低管理成本,提高办事效率。
法律效力
《办法》中明确了电子印章与纸质加盖实物印章的文件具有同等法律地位,企业可放心使用电子印章签订合同、出具证明、办理政务事项,这一规定使企业可更广泛地采用电子合同、电子公文、电子授权等形式,提升商业信任的数字化基础。
安全可控
从法律与技术方面作出了明确标准,对电子印章的制作、备案、状态查询和注销等环节制定了规范要求。电子印章依托密码技术实现身份可信认证,成为数字信任的关键载体。其广泛应用将推动形成"线上可信、线下可靠"的信任闭环,为数字经济、数字社会的健康发展提供基础支撑。
电子合同;电子签章;电子章;智能合同;合同管理
电子合同;电子签章;电子章;智能合同;合同管理
电子合同;电子签章;电子章;智能合同;合同管理
电子合同、文化创意、内容创作、版权授权、数字资产、NFT、IP开发、联合出品
电子合同、医疗健康、诊疗服务、科研协作、医保支付、知情同意、数据授权、医联体
电子合同、数字政府、政务服务、跨区域通办、公共治理、数据共享、监管协同
电子合同;电子签章;电子章;智能合同;合同管理
电子合同;电子签章;电子章;智能合同;合同管理
立即咨询
工作日:9:00-12:00~13:30-18:00
免登录,在线真人客服咨询
咨询后,回看咨询记录更方便
留下您的联系方式,我们主动回访
帮助中心
关注我们
文件快速签署,产品动态即时了解
申请试用
返回顶部